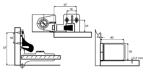
Glass Door Hinge D-13/2, Zamak, Top+Bottom, Bronze Plated

Código 15.06.103-2

DOWNLOAD